Производство, продажа и
поставка ЖБИ по России и СНГ
Навигация
Код товара:
9 071 руб.
цена с НДС*

ГОСТ 28737-90

Краткие характеристики
Длина, мм
5050
Ширина, мм
200
Высота, мм
300
Вес, кг
680

Все характеристики
Длина, мм
5050
Ширина, мм
200
Высота, мм
300
Вес, кг
680
Количество в квадратом метре, шт
0,99
Нормы погрузки на авто
29
Нормы погрузки ЖД
101
Ссылка на стандарт
https://disk.yandex.ru/d/ZW59dvTziMYqUA
Расход стали, кг
12,2
Расход стали на 1м3 бетона, кг
44,85
Класс прочности
В15
Марка бетона
М200
Морозостойкость
F100-F200
Водонепроницаемость
W4-W6
Марка бетона по EN 206-1
C12/15
Геометрический объем
0,303
Объем бетона
0,27

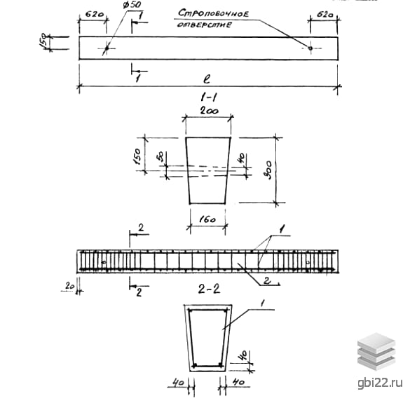
Фундаментные балки 1БФ 51 (ГОСТ 28737-90)

Фундаментные балки 1БФ 51 – это железобетонные изделия таврового сечения, представляющие собой букву "Т" в поперечном разрезе. Они предназначены для создания подошв или ростверков оснований для кирпичных, блочных и панельных зданий, как промышленного, так и коммерческого назначения.

Расшифровка маркировки

1 – типоразмер;

БФ – балка фундаментная (тип конструкции);

51 – длина в дециметрах, округленная до целого числа (расстояние между гранями подколонников).

Основные характеристики

Длина: 5050 мм

Ширина: 200 мм

Высота: 300 мм

Вес: 680 кг

Марка бетона: М200

Применение

Эти балки используются в строительстве фундаментных конструкций для:

  • промышленных зданий с железобетонными колоннами высотой до 24 метров и панельными самонесущими и навесными стенами толщиной 200 мм;
  • зданий с панельными навесными и самонесущими стенами толщиной 200 мм и перегородками.

Эксплуатационные характеристики

Фундаментные балки 1БФ 51 могут использоваться во всех климатических зонах России, включая регионы с высокой сейсмической активностью (до 7 баллов по шкале Рихтера). Средняя зимняя температура может достигать -40 градусов. Применение в конкретном регионе должно быть обосновано гидрогеологическими исследованиями и технико-экономическими расчетами.

Монтаж

Монтаж балок требует специальной техники из-за их значительной массы и габаритов. Рекомендуется использовать краны и лебедки. Укладка упрощается благодаря монтажным петлям, через которые проходит такелажный трос для надежной строповки. Перед установкой необходимо забить вертикальные элементы с шагом 1,4-6 метров и подготовить щебенчато-гравийную подсыпку.

Фиксация

Фиксация фундаментных единиц осуществляется стандартными методами: перевязка хомутами или контактная точечная сварка армирующего каркаса с арматурными выпуском опорных столбов.

Технические характеристики

Фундаментные балки 1БФ 51 маркируются в соответствии с действующими регламентами. В маркировке указываются:

  • Типоразмер;
  • Тип конструкции;
  • Длина в дециметрах.

Материалы и армирование

Изделия изготавливаются из тяжелых конструкционных бетонов класса прочности В15, отвечающих требованиям морозостойкости, водонепроницаемости и трещиностойкости. Армирование выполняется стальными каркасами, соединенными шпильками и вязальной проволокой класса Вр-1.

Транспортировка и складирование

Фундаментные балки транспортируются специализированным транспортом. Каждый элемент должен быть зафиксирован и защищен деревянными подкладками для предотвращения повреждений. Складирование осуществляется штабелями.

Стандарт
ГОСТ
Номер стандарта
28737-90
Статус
заменен ГОСТ 28737-2016
Год выпущенного стандарта
1991
Название стандарта
Балки фундаментные железобетонные для стен зданий промышленных и сельскохозяйственных предприятий. Технические условия.
Название Длина, ммШирина, ммВысота, ммВес, кгНомер стандарта Цена
388030045014101.110.1-1п
12 976 руб.
285040030086027Н-83
6 449 руб.
285040030086027Н-83
6 449 руб.
285040030086027Н-83
5 806 руб.
285040030086027Н-83
5 806 руб.
119604006005700КЭ 01-53
59 319 руб.
119603004003200КЭ 01-53
23 242 руб.
102004006004900КЭ 01-53
46 148 руб.
107004006005100КЭ 01-53
48 075 руб.
102003004002800КЭ 01-53
19 398 руб.
107003004002900КЭ 01-53
20 085 руб.
44505204001420КЭ 01-23
13 272 руб.
49505204001600КЭ 01-23
14 799 руб.
44505204001420КЭ 01-23
11 084 руб.
49505204001600КЭ 01-23
12 380 руб.
44505204001420КЭ 01-23
10 162 руб.
49505204001600КЭ 01-23
11 343 руб.
44504004001130КЭ 01-23
9 622 руб.
49504004001250КЭ 01-23
10 640 руб.
44504004001130КЭ 01-23
8 701 руб.
49504004001250КЭ 01-23
9 603 руб.
44504004001130КЭ 01-23
8 240 руб.
49504004001250КЭ 01-23
9 143 руб.
44503004001030КЭ 01-23
7 546 руб.
49503004001180КЭ 01-23
8 587 руб.
44503004001030КЭ 01-23
7 085 руб.
49503004001180КЭ 01-23
8 011 руб.
59503004501740КЭ 01-15
11 647 руб.
59504004502440КЭ 01-15
21 002 руб.
59504004502440КЭ 01-15
17 431 руб.
59503004501675КЭ 01-15
17 566 руб.
59503004501740КЭ 01-15
14 643 руб.
50503004501480КЭ 01-15
20 004 руб.
59504004502300КЭ 01-15
23 578 руб.
50503004501480КЭ 01-15
10 674 руб.
50504004502080КЭ 01-15
22 837 руб.
50504004502080КЭ 01-15
14 889 руб.
53503004501560КЭ 01-15
19 345 руб.
53503004501560КЭ 01-15
10 130 руб.
53504004502180КЭ 01-15
28 147 руб.
53504004502180КЭ 01-15
14 785 руб.
53504004502180КЭ 01-15
23 309 руб.
53503004501560КЭ 01-15
11 282 руб.
53504004502180КЭ 01-15
31 833 руб.
59504004502440КЭ 01-15
19 735 руб.
53504004502180КЭ 01-15
16 282 руб.
53503004501560КЭ 01-15
14 959 руб.
53503004501560КЭ 01-15
10 006 руб.
53504004502180КЭ 01-15
20 947 руб.
53503004501560КЭ 01-15
15 765 руб.
Полный каталог
Название Длина, ммШирина, ммВысота, ммВес, кгНомер стандарта Цена
11950400600570028737-90
80 095 руб.
11050400600530028737-90
74 536 руб.
10750400600520028737-90
72 917 руб.
10450400600510028737-90
71 298 руб.
10300400600500028737-90
69 770 руб.
11950320300250028737-90
38 055 руб.
11050320300230028737-90
33 252 руб.
10750320300230028737-90
32 908 руб.
10450520300210028737-90
30 671 руб.
10300320300190028737-90
28 526 руб.
5950520300150028737-90
25 964 руб.
5500520300140028737-90
28 354 руб.
5050520300130028737-90
24 186 руб.
4750520300115028737-90
20 900 руб.
4450520300110028737-90
18 899 руб.
4300520300105028737-90
18 067 руб.
4000520300100028737-90
16 273 руб.
295052030074028737-90
11 160 руб.
235052030059028737-90
8 378 руб.
145052030036028737-90
5 018 руб.
5950400300130028737-90
21 964 руб.
5500400300120028737-90
16 990 руб.
5050400300110028737-90
15 532 руб.
4750400300100028737-90
14 316 руб.
445040030097028737-90
13 672 руб.
430040030092528737-90
13 074 руб.
400040030087028737-90
12 314 руб.
295040030065028737-90
9 482 руб.
235040030040028737-90
6 029 руб.
145040030033028737-90
4 306 руб.
5950300300100028737-90
17 408 руб.
550030030092028737-90
13 096 руб.
505030030085028737-90
12 061 руб.
475030030080028737-90
11 462 руб.
445030030075028737-90
10 748 руб.
430030030072528737-90
10 380 руб.
400030030067028737-90
9 689 руб.
295030030050028737-90
7 410 руб.
235030030040028737-90
5 456 руб.
145030030025028737-90
3 132 руб.
595020030080028737-90
10 637 руб.
550020030075028737-90
9 924 руб.
475020030065028737-90
8 565 руб.
445020030060028737-90
7 989 руб.
430020030057528737-90
7 644 руб.
400020030053028737-90
7 091 руб.
295020030040028737-90
5 181 руб.
235020030032028737-90
3 870 руб.
145020030020028737-90
2 373 руб.

ТД "Еврастрой" предлагает купить Балки фундаментные 1БФ 51 по выгодной цене. Наша компания осуществляет доставку продукции по всей территории России и странам СНГ.

В каталоге представлено около 170 тыс. позиций.

По наличию и ценам Мы можем проконсультировать Вас по телефону +7 (343) 300-90-87 или можете отправить запрос на почтовый ящик gbi@gbi22.ru.

Оплатить продукцию можно в рассрочку, для обсуждения вопросов оплаты так же можно обратиться к нашим менеджерам.

Продажа ЖБИ изделий производится с заводов в таких городах как:

  • Екатеринбург
  • Тюмень
  • Красноярск
  • Новосибирск
  • Иркутск
  • Ростов-на-дону
  • Нижний Новгород
  • Казань
  • Москва

Наши менеджеры помогут Вам подобрать оптимальное решения для ваших задач, сориентируют по наличию и ценам, расскажут про оптимальные варианты доставки и оплаты. Звоните +7 (343) 300-90-87

9 071 руб.
цена с НДС*
Наличие: нет
шт.
Перейти в корзину

Оформить заказ
Рассрочка
Рассказать друзьям: