В вашей корзине ещё нет товаров.
|
|||||||||
| Количество в квадратом метре, шт | 1,01 | ||||||||
| Нормы погрузки на авто | 25 | ||||||||
| Нормы погрузки ЖД | 87 | ||||||||
| Ссылка на стандарт | https://disk.yandex.ru/d/kLRT8gdqAOe5Sg | ||||||||
| Расход стали, кг | 46,72 |
| Расход стали на 1м3 бетона, кг | 147,85 |
| Класс прочности | В22,5 |
| Марка бетона | М300 |
| Морозостойкость | F150-F300 |
| Водонепроницаемость | W6-W8 |
| Марка бетона по EN 206-1 | C18/22 |
| Геометрический объем | 0,297 |
| Объем бетона | 0,32 |
Обозначение изделия содержит ключевые параметры:
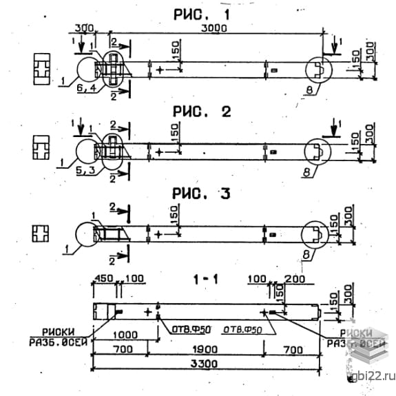
Колонны представляют собой прямоугольные железобетонные балки с консолями для опирания смежных элементов каркаса. Выпускаются в трех вариантах: без полок, с одной или двумя симметричными консолями. Оснащены закладными деталями для соединения с другими конструкциями.
Используются в строительстве:
Подходят для этажей высотой 2,8–4,8 м. Огнестойкость — 2,5 часа.
Изготавливаются из бетона марок М300–М300 с учетом климатических условий. Армирование выполняется стальными каркасами (класс AIII и AI по ГОСТ 5781-82). Закладные детали производятся из стали ВСт3кп2 (ГОСТ 380-71) с антикоррозионной защитой.
Перевозка осуществляется с применением балансирных траверс. Хранение — на деревянных брусках толщиной 200 мм. Монтаж выполняется согласно серии 1.020.1-3пв.
| Стандарт | серия |
| Номер стандарта | 1.020.1-3пв |
| Статус | действует |
| Год выпущенного стандарта | 1985 |
| Название стандарта | Конструкции каркаса межвидового применения многоэтажных общественных зданий производственных и вспомогательных зданий промышленных предприятий для строительства на просадочных грунтах и на подрабатываемых территориях. |
| Название | Длина, мм | Ширина, мм | Высота, мм | Вес, кг | Номер стандарта | Цена | |
|---|---|---|---|---|---|---|---|
| 14450 | 300 | 300 | 3319 | 1.020-1/83 |
48 315 руб. |
||
| 14450 | 300 | 300 | 3319 | 1.020-1/83 |
46 561 руб. |
||
| 14450 | 300 | 300 | 3319 | 1.020-1/83 |
41 071 руб. |
||
| 14450 | 300 | 300 | 3319 | 1.020-1/83 |
48 315 руб. |
||
| 12350 | 300 | 300 | 2846 | 1.020-1/83 |
42 325 руб. |
||
| 12350 | 300 | 300 | 2846 | 1.020-1/83 |
39 962 руб. |
||
| 12350 | 300 | 300 | 2846 | 1.020-1/83 |
36 143 руб. |
||
| 12350 | 300 | 300 | 2846 | 1.020-1/83 |
42 047 руб. |
||
| 14050 | 300 | 300 | 3229 | 1.020-1/83 |
47 153 руб. |
||
| 14050 | 300 | 300 | 3229 | 1.020-1/83 |
46 304 руб. |
||
| 14050 | 300 | 300 | 3229 | 1.020-1/83 |
40 108 руб. |
||
| 14050 | 300 | 300 | 3229 | 1.020-1/83 |
47 153 руб. |
||
| 11350 | 300 | 300 | 2621 | 1.020-1/83 |
39 519 руб. |
||
| 11350 | 300 | 300 | 2621 | 1.020-1/83 |
37 638 руб. |
||
| 13550 | 300 | 300 | 3116 | 1.020-1/83 |
45 740 руб. |
||
| 13550 | 300 | 300 | 3116 | 1.020-1/83 |
45 146 руб. |
||
| 12550 | 300 | 300 | 2891 | 1.020-1/83 |
42 934 руб. |
||
| 12550 | 300 | 300 | 2891 | 1.020-1/83 |
42 849 руб. |
||
| 13550 | 300 | 300 | 3116 | 1.020-1/83 |
38 949 руб. |
||
| 13550 | 300 | 300 | 3116 | 1.020-1/83 |
45 436 руб. |
||
| 10850 | 300 | 300 | 2509 | 1.020-1/83 |
38 127 руб. |
||
| 10850 | 300 | 300 | 2509 | 1.020-1/83 |
36 514 руб. |
||
| 12050 | 300 | 300 | 2779 | 1.020-1/83 |
41 542 руб. |
||
| 12050 | 300 | 300 | 2779 | 1.020-1/83 |
40 990 руб. |
||
| 14450 | 300 | 300 | 3319 | 1.020-1/83 |
54 370 руб. |
||
| 14450 | 300 | 300 | 3319 | 1.020-1/83 |
58 897 руб. |
||
| 14450 | 300 | 300 | 3319 | 1.020-1/83 |
48 867 руб. |
||
| 14450 | 300 | 300 | 3319 | 1.020-1/83 |
45 075 руб. |
||
| 12350 | 300 | 300 | 2848 | 1.020-1/83 |
46 723 руб. |
||
| 12350 | 300 | 300 | 2848 | 1.020-1/83 |
49 283 руб. |
||
| 12350 | 300 | 300 | 2848 | 1.020-1/83 |
42 889 руб. |
||
| 12350 | 300 | 300 | 2848 | 1.020-1/83 |
46 270 руб. |
||
| 12350 | 300 | 300 | 2848 | 1.020-1/83 |
39 140 руб. |
||
| 14050 | 300 | 300 | 3229 | 1.020-1/83 |
53 901 руб. |
||
| 14050 | 300 | 300 | 3229 | 1.020-1/83 |
58 018 руб. |
||
| 14050 | 300 | 300 | 3229 | 1.020-1/83 |
47 705 руб. |
||
| 14050 | 300 | 300 | 3229 | 1.020-1/83 |
44 621 руб. |
||
| 11350 | 300 | 300 | 2621 | 1.020-1/83 |
43 891 руб. |
||
| 11350 | 300 | 300 | 2621 | 1.020-1/83 |
46 961 руб. |
||
| 10850 | 300 | 300 | 2509 | 1.020-1/83 |
42 484 руб. |
||
| 10850 | 300 | 300 | 2509 | 1.020-1/83 |
52 331 руб. |
||
| 14450 | 300 | 300 | 3386 | 1.020-1/83 |
81 581 руб. |
||
| 14450 | 300 | 300 | 3386 | 1.020-1/83 |
65 679 руб. |
||
| 14450 | 300 | 300 | 3386 | 1.020-1/83 |
62 538 руб. |
||
| 12350 | 300 | 300 | 2779 | 1.020-1/83 |
66 880 руб. |
||
| 12350 | 300 | 300 | 2779 | 1.020-1/83 |
55 279 руб. |
||
| 12350 | 300 | 300 | 2779 | 1.020-1/83 |
52 110 руб. |
||
| 14050 | 300 | 300 | 3296 | 1.020-1/83 |
80 518 руб. |
||
| 14050 | 300 | 300 | 3296 | 1.020-1/83 |
64 630 руб. |
||
| 14050 | 300 | 300 | 3296 | 1.020-1/83 |
61 674 руб. |
| Название | Длина, мм | Ширина, мм | Высота, мм | Вес, кг | Номер стандарта | Цена | |
|---|---|---|---|---|---|---|---|
| 7200 | 300 | 300 | 1760 | 1.020.1-3пв |
35 145 руб. |
||
| 7200 | 300 | 300 | 1760 | 1.020.1-3пв |
30 448 руб. |
||
| 7200 | 300 | 300 | 1760 | 1.020.1-3пв |
22 735 руб. |
||
| 7200 | 300 | 300 | 1690 | 1.020.1-3пв |
19 517 руб. |
||
| 7200 | 300 | 300 | 1880 | 1.020.1-3пв |
47 359 руб. |
||
| 7200 | 300 | 300 | 1840 | 1.020.1-3пв |
41 175 руб. |
||
| 5400 | 300 | 200 | 1010 | 1.020.1-3пв |
24 644 руб. |
||
| 5400 | 300 | 200 | 1010 | 1.020.1-3пв |
21 079 руб. |
||
| 5400 | 300 | 200 | 1010 | 1.020.1-3пв |
15 225 руб. |
||
| 5400 | 300 | 200 | 1010 | 1.020.1-3пв |
13 085 руб. |
||
| 5400 | 300 | 200 | 1010 | 1.020.1-3пв |
33 402 руб. |
||
| 5400 | 300 | 200 | 1010 | 1.020.1-3пв |
28 889 руб. |
||
| 4200 | 300 | 200 | 760 | 1.020.1-3пв |
19 187 руб. |
||
| 4200 | 300 | 200 | 760 | 1.020.1-3пв |
16 370 руб. |
||
| 4200 | 300 | 200 | 760 | 1.020.1-3пв |
11 753 руб. |
||
| 4200 | 300 | 200 | 760 | 1.020.1-3пв |
10 064 руб. |
||
| 4200 | 300 | 200 | 760 | 1.020.1-3пв |
26 091 руб. |
||
| 4200 | 300 | 200 | 760 | 1.020.1-3пв |
22 526 руб. |
||
| 2700 | 300 | 200 | 490 | 1.020.1-3пв |
12 605 руб. |
||
| 2700 | 300 | 200 | 490 | 1.020.1-3пв |
10 733 руб. |
||
| 2700 | 300 | 200 | 490 | 1.020.1-3пв |
7 663 руб. |
||
| 2700 | 300 | 200 | 490 | 1.020.1-3пв |
6 541 руб. |
||
| 2700 | 300 | 200 | 490 | 1.020.1-3пв |
17 195 руб. |
||
| 2700 | 300 | 200 | 490 | 1.020.1-3пв |
14 821 руб. |
||
| 1200 | 300 | 200 | 220 | 1.020.1-3пв |
6 025 руб. |
||
| 1200 | 300 | 200 | 220 | 1.020.1-3пв |
5 095 руб. |
||
| 1200 | 300 | 200 | 220 | 1.020.1-3пв |
3 574 руб. |
||
| 1200 | 300 | 200 | 220 | 1.020.1-3пв |
3 017 руб. |
||
| 1200 | 300 | 200 | 220 | 1.020.1-3пв |
8 300 руб. |
||
| 1200 | 300 | 200 | 220 | 1.020.1-3пв |
7 122 руб. |
||
| 10200 | 300 | 300 | 2610 | 1.020.1-3пв |
51 987 руб. |
||
| 10200 | 300 | 300 | 2610 | 1.020.1-3пв |
45 409 руб. |
||
| 10200 | 300 | 300 | 2610 | 1.020.1-3пв |
34 600 руб. |
||
| 10200 | 300 | 300 | 2610 | 1.020.1-3пв |
30 653 руб. |
||
| 10200 | 300 | 300 | 2610 | 1.020.1-3пв |
68 143 руб. |
||
| 10200 | 300 | 300 | 2610 | 1.020.1-3пв |
59 811 руб. |
||
| 5980 | 3085 | 350 | 8580 | 1.020.1-3пв |
53 116 руб. |
||
| 5980 | 3080 | 250 | 6180 | 1.020.1-3пв |
43 595 руб. |
||
| 5980 | 2285 | 350 | 6350 | 1.020.1-3пв |
38 393 руб. |
||
| 5980 | 2285 | 250 | 4580 | 1.020.1-3пв |
30 869 руб. |
||
| 560 | 560 | 4485 | 1420 | 1.020.1-3пв |
9 276 руб. |
||
| 560 | 560 | 3885 | 1310 | 1.020.1-3пв |
8 405 руб. |
||
| 560 | 560 | 3585 | 1120 | 1.020.1-3пв |
6 826 руб. |
||
| 560 | 560 | 3085 | 830 | 1.020.1-3пв |
5 116 руб. |
||
| 560 | 560 | 2285 | 1020 | 1.020.1-3пв |
5 702 руб. |
||
| 460 | 460 | 4485 | 880 | 1.020.1-3пв |
6 602 руб. |
||
| 460 | 460 | 3885 | 820 | 1.020.1-3пв |
6 006 руб. |
||
| 460 | 460 | 3585 | 690 | 1.020.1-3пв |
4 709 руб. |
||
| 460 | 460 | 3085 | 690 | 1.020.1-3пв |
4 355 руб. |
||
| 460 | 460 | 2285 | 520 | 1.020.1-3пв |
3 359 руб. |
ТД "Еврастрой" предлагает купить Колонны 1КО 3-33 пв по выгодной цене. Наша компания осуществляет доставку продукции по всей территории России и странам СНГ.
В каталоге представлено около 170 тыс. позиций.
По наличию и ценам Мы можем проконсультировать Вас по телефону +7 (343) 300-90-87 или можете отправить запрос на почтовый ящик gbi@gbi22.ru.
Оплатить продукцию можно в рассрочку, для обсуждения вопросов оплаты так же можно обратиться к нашим менеджерам.
Продажа ЖБИ изделий производится с заводов в таких городах как:
Наши менеджеры помогут Вам подобрать оптимальное решения для ваших задач, сориентируют по наличию и ценам, расскажут про оптимальные варианты доставки и оплаты. Звоните +7 (343) 300-90-87
