В вашей корзине ещё нет товаров.
|
|||||||||
| Количество в квадратом метре, шт | 0,28 | ||||||||
| Нормы погрузки на авто | 15 | ||||||||
| Нормы погрузки ЖД | 40 | ||||||||
| Ссылка на стандарт | https://disk.yandex.ru/d/wG6hsI0zT4nv_Q | ||||||||
| Расход стали, кг | 18,63 |
| Расход стали на 1м3 бетона, кг | 35,02 |
| Класс прочности | В15 |
| Марка бетона | М200 |
| Морозостойкость | F100-F200 |
| Водонепроницаемость | W4-W6 |
| Марка бетона по EN 206-1 | C12/15 |
| Геометрический объем | 1,229 |
| Объем бетона | 0,53 |
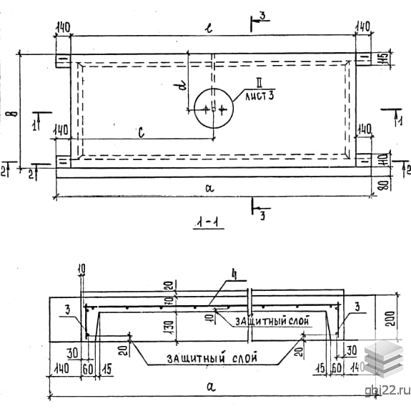
Ребристые лестничные площадки ЛПФ 28-11в-5 у – это важный элемент для высотных зданий. Практически ни одно строение высотой более 3 метров не обходится без ступеней и площадок, которые разделяют лестничный марш. В зависимости от конструкции различают несколько типов маршей и площадок, которые могут применяться только в одной размерной группе.
ЛПФ – тип конструкции (лестничные площадки ребристые);
28 – длина в дециметрах;
11 – ширина в дециметрах;
в – верхняя конечная;
5 – нагрузка;
у – усиленная.
Длина: 3080 мм
Ширина: 1140 мм
Высота: 350 мм
Вес: 1330 кг
Марка бетона: М200
Эти площадки изготавливаются из железобетона и предназначены для разделения лестничного марша на составные части, а также для восприятия вертикальных нагрузок. Они могут использоваться как в жилых, так и в общественных зданиях, обеспечивая надежную стыковку с лестничным маршем типа ЛМФ, который имеет фризовые ступени.
При установке площадки создаются специальные деформационные швы, что позволяет избежать повреждений в лестничной конструкции. Площадка опирается на балки, которые закладываются в стены здания, и на нее уже устанавливается марш. Сборная конструкция формирует лестничную клетку, обеспечивая максимальную пропускную способность.
Площадки ЛПФ 28-11в-5 у (ГОСТ 9818-85) обладают высокой прочностью, морозостойкостью и водонепроницаемостью. Они могут эксплуатироваться в условиях с температурой до -55 градусов и в районах с сейсмичностью до 9 баллов по шкале Рихтера. Благодаря низкому водопоглощению (не более 4%) площадки подходят для использования в условиях повышенной влажности.
Плита площадки выдерживает нагрузки не менее 4,7 кПа (что соответствует 480 кгс/м?). Для повышения прочности используется арматура из горячекатаной проволоки или стержневых прутков с предварительным напряжением. Площадки транспортируются в положении "на ребро" с использованием специального транспорта, при этом каждая плита должна быть защищена изолирующими материалами или деревянными досками толщиной не менее 30 мм.
| Стандарт | ГОСТ |
| Номер стандарта | 9818-85 |
| Статус | заменен ГОСТ 9818-2015 |
| Год выпущенного стандарта | 1986 |
| Название стандарта | Марши и площадки лестниц железобетонные. Технические условия. |
| Название | Длина, мм | Ширина, мм | Высота, мм | Вес, кг | Номер стандарта | Цена | |
|---|---|---|---|---|---|---|---|
| 2780 | 1900 | 320 | 1460 | 1.152-3 |
по запросу |
||
| 2780 | 1900 | 320 | 1460 | 1.152-3 |
по запросу |
||
| 2780 | 1900 | 320 | 1535 | 1.152-3 |
по запросу |
||
| 2780 | 1900 | 320 | 1500 | 1.152-3 |
по запросу |
||
| 2780 | 1600 | 320 | 1345 | 1.152-3 |
по запросу |
||
| 2780 | 1600 | 320 | 1315 | 1.152-3 |
по запросу |
||
| 2780 | 1300 | 320 | 1160 | 1.152-3 |
по запросу |
||
| 2780 | 1300 | 320 | 1130 | 1.152-3 |
по запросу |
||
| 2480 | 1900 | 320 | 1300 | 1.152-3 |
по запросу |
||
| 2480 | 1900 | 320 | 1300 | 1.152-3 |
по запросу |
||
| 2480 | 1900 | 220 | 1370 | 1.152-3 |
по запросу |
||
| 2480 | 1900 | 320 | 1340 | 1.152-3 |
по запросу |
||
| 2480 | 1600 | 320 | 1200 | 1.152-3 |
по запросу |
||
| 2480 | 1600 | 320 | 1175 | 1.152-3 |
по запросу |
||
| 2480 | 1300 | 320 | 1035 | 1.152-3 |
по запросу |
||
| 2480 | 1300 | 320 | 1010 | 1.152-3 |
по запросу |
||
| 3680 | 1290 | 420 | 1730 | 9818-85 |
11 106 руб. |
||
| 3680 | 1290 | 420 | 1500 | 9818-85 |
9 854 руб. |
||
| 3380 | 1290 | 350 | 1580 | 9818-85 |
10 203 руб. |
||
| 3380 | 1290 | 350 | 1500 | 9818-85 |
9 795 руб. |
||
| 3380 | 1290 | 350 | 1380 | 9818-85 |
9 089 руб. |
||
| 3380 | 1290 | 350 | 1330 | 9818-85 |
8 821 руб. |
||
| 2800 | 1290 | 350 | 1350 | 9818-85 |
8 800 руб. |
||
| 2800 | 1290 | 350 | 1200 | 9818-85 |
7 918 руб. |
||
| 3080 | 1140 | 350 | 1250 | 9818-85 |
8 137 руб. |
||
| 2800 | 1140 | 350 | 1150 | 9818-85 |
7 323 руб. |
||
| 2800 | 1140 | 350 | 1100 | 9818-85 |
7 280 руб. |
||
| 2780 | 1290 | 350 | 1230 | 9818-85 |
7 844 руб. |
||
| 2780 | 1290 | 350 | 1080 | 9818-85 |
6 961 руб. |
||
| 2780 | 1140 | 350 | 980 | 9818-85 |
6 503 руб. |
||
| 2500 | 1140 | 350 | 980 | 9818-85 |
6 338 руб. |
||
| 2780 | 990 | 350 | 1050 | 9818-85 |
6 734 руб. |
||
| 2500 | 990 | 350 | 900 | 9818-85 |
5 874 руб. |
||
| 1610 | 1640 | 240 | 730 | 9818-85 |
5 335 руб. |
||
| 1610 | 1490 | 240 | 780 | 9818-85 |
5 510 руб. |
||
| 1540 | 1490 | 240 | 750 | 9818-85 |
5 186 руб. |
||
| 1440 | 1475 | 240 | 600 | 9818-85 |
4 352 руб. |
||
| 1440 | 1325 | 240 | 600 | 9818-85 |
4 444 руб. |
||
| 1440 | 1200 | 240 | 500 | 9818-85 |
3 738 руб. |
||
| 2500 | 1900 | 320 | 1500 | 9818-85 |
9 877 руб. |
||
| 2500 | 1900 | 320 | 1300 | 9818-85 |
8 949 руб. |
||
| 2780 | 1900 | 320 | 1350 | 9818-85 |
8 784 руб. |
||
| 2780 | 1900 | 320 | 1350 | 9818-85 |
8 784 руб. |
||
| 2500 | 1900 | 320 | 1350 | 9818-85 |
8 784 руб. |
||
| 2780 | 1900 | 320 | 1300 | 9818-85 |
8 949 руб. |
||
| 2500 | 1900 | 320 | 1300 | 9818-85 |
8 949 руб. |
||
| 2780 | 1900 | 320 | 1550 | 9818-85 |
10 127 руб. |
||
| 2780 | 1900 | 320 | 1550 | 9818-85 |
10 127 руб. |
||
| 2500 | 1900 | 320 | 1550 | 9818-85 |
10 127 руб. |
||
| 2780 | 1900 | 320 | 1500 | 9818-85 |
9 877 руб. |
| Название | Длина, мм | Ширина, мм | Высота, мм | Вес, кг | Номер стандарта | Цена | |
|---|---|---|---|---|---|---|---|
| 3680 | 1290 | 420 | 1730 | 9818-85 |
11 106 руб. |
||
| 3680 | 1290 | 420 | 1500 | 9818-85 |
9 854 руб. |
||
| 3380 | 1290 | 350 | 1580 | 9818-85 |
10 203 руб. |
||
| 3380 | 1290 | 350 | 1500 | 9818-85 |
9 795 руб. |
||
| 3380 | 1290 | 350 | 1380 | 9818-85 |
9 089 руб. |
||
| 3380 | 1290 | 350 | 1330 | 9818-85 |
8 821 руб. |
||
| 2800 | 1290 | 350 | 1350 | 9818-85 |
8 800 руб. |
||
| 2800 | 1290 | 350 | 1200 | 9818-85 |
7 918 руб. |
||
| 3080 | 1140 | 350 | 1250 | 9818-85 |
8 137 руб. |
||
| 2800 | 1140 | 350 | 1150 | 9818-85 |
7 323 руб. |
||
| 2800 | 1140 | 350 | 1100 | 9818-85 |
7 280 руб. |
||
| 2780 | 1290 | 350 | 1230 | 9818-85 |
7 844 руб. |
||
| 2780 | 1290 | 350 | 1080 | 9818-85 |
6 961 руб. |
||
| 2780 | 1140 | 350 | 980 | 9818-85 |
6 503 руб. |
||
| 2500 | 1140 | 350 | 980 | 9818-85 |
6 338 руб. |
||
| 2780 | 990 | 350 | 1050 | 9818-85 |
6 734 руб. |
||
| 2500 | 990 | 350 | 900 | 9818-85 |
5 874 руб. |
||
| 1610 | 1640 | 240 | 730 | 9818-85 |
5 335 руб. |
||
| 1610 | 1490 | 240 | 780 | 9818-85 |
5 510 руб. |
||
| 1540 | 1490 | 240 | 750 | 9818-85 |
5 186 руб. |
||
| 1440 | 1475 | 240 | 600 | 9818-85 |
4 352 руб. |
||
| 1440 | 1325 | 240 | 600 | 9818-85 |
4 444 руб. |
||
| 1440 | 1200 | 240 | 500 | 9818-85 |
3 738 руб. |
||
| 4946 | 1650 | 2100 | 2230 | 9818-85 |
16 129 руб. |
||
| 4946 | 1500 | 2100 | 2080 | 9818-85 |
15 292 руб. |
||
| 4946 | 1350 | 2100 | 1930 | 9818-85 |
13 670 руб. |
||
| 4249 | 1500 | 1800 | 1680 | 9818-85 |
12 824 руб. |
||
| 4249 | 1350 | 1800 | 1530 | 9818-85 |
8 346 руб. |
||
| 4249 | 1200 | 1800 | 1400 | 9818-85 |
7 687 руб. |
||
| 3913 | 1500 | 1650 | 1550 | 9818-85 |
11 317 руб. |
||
| 3913 | 1350 | 1650 | 1430 | 9818-85 |
9 971 руб. |
||
| 3913 | 1200 | 1650 | 1290 | 9818-85 |
9 270 руб. |
||
| 4790 | 1150 | 1650 | 2080 | 9818-85 |
16 129 руб. |
||
| 5980 | 1150 | 1650 | 2600 | 9818-85 |
24 060 руб. |
||
| 4640 | 1150 | 1500 | 2030 | 9818-85 |
15 758 руб. |
||
| 5980 | 1150 | 1500 | 2500 | 9818-85 |
23 342 руб. |
||
| 4775 | 1150 | 1800 | 2080 | 9818-85 |
16 232 руб. |
||
| 5650 | 1150 | 1800 | 2380 | 9818-85 |
20 217 руб. |
||
| 5050 | 1150 | 1800 | 2100 | 9818-85 |
17 869 руб. |
||
| 5650 | 1150 | 1800 | 2380 | 9818-85 |
20 309 руб. |
||
| 5650 | 1150 | 1800 | 2400 | 9818-85 |
20 298 руб. |
||
| 4625 | 1150 | 1650 | 2000 | 9818-85 |
15 711 руб. |
||
| 5650 | 1150 | 1650 | 2400 | 9818-85 |
20 206 руб. |
||
| 4750 | 1150 | 1650 | 2150 | 9818-85 |
16 500 руб. |
||
| 5650 | 1150 | 1650 | 2400 | 9818-85 |
20 355 руб. |
||
| 5650 | 1150 | 1650 | 2400 | 9818-85 |
20 240 руб. |
||
| 4475 | 1150 | 1500 | 1930 | 9818-85 |
15 236 руб. |
||
| 5650 | 1150 | 1500 | 2300 | 9818-85 |
19 684 руб. |
||
| 4475 | 1150 | 1400 | 1830 | 9818-85 |
14 749 руб. |
||
| 5650 | 1150 | 1400 | 2200 | 9818-85 |
19 197 руб. |
ТД "Еврастрой" предлагает купить Лестничные площадки ребристые ЛПФ 28-11в-5 у по выгодной цене. Наша компания осуществляет доставку продукции по всей территории России и странам СНГ.
В каталоге представлено около 170 тыс. позиций.
По наличию и ценам Мы можем проконсультировать Вас по телефону +7 (343) 300-90-87 или можете отправить запрос на почтовый ящик gbi@gbi22.ru.
Оплатить продукцию можно в рассрочку, для обсуждения вопросов оплаты так же можно обратиться к нашим менеджерам.
Продажа ЖБИ изделий производится с заводов в таких городах как:
Наши менеджеры помогут Вам подобрать оптимальное решения для ваших задач, сориентируют по наличию и ценам, расскажут про оптимальные варианты доставки и оплаты. Звоните +7 (343) 300-90-87
