В вашей корзине ещё нет товаров.
|
|||||||||
| Количество в квадратом метре, шт | 5,00 | ||||||||
| Нормы погрузки на авто | 102 | ||||||||
| Нормы погрузки ЖД | 240 | ||||||||
| Ссылка на стандарт | https://disk.yandex.ru/d/ZdewDtrzJYTugg | ||||||||
| Расход стали, кг | 7,8 |
| Расход стали на 1м3 бетона, кг | 162,50 |
| Класс прочности | В22,5 |
| Марка бетона | М300 |
| Морозостойкость | F150-F300 |
| Водонепроницаемость | W6-W8 |
| Марка бетона по EN 206-1 | C18/22 |
| Геометрический объем | 0,200 |
| Объем бетона | 0,05 |
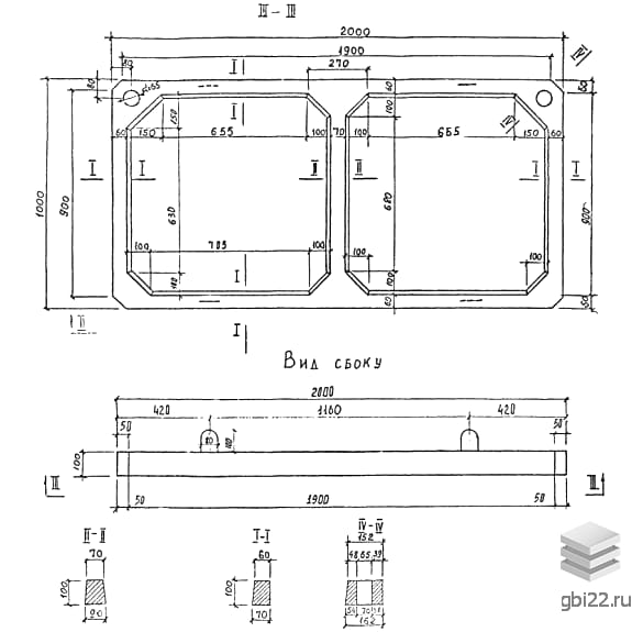
Рамы представляют собой высокопрочные унифицированные изделия, предназначенные для создания укреплений откосов земляного полотна. Эти элементы используются в сочетании с проектными конструкциями, разработанными по стандарту ИНВ 19700м.
Рама – тип конструкции.
Изделия имеют прямоугольную форму и оснащены двумя квадратными сквозными отверстиями. На торцевых углах, с одной из продольных сторон, расположены круглые отверстия диаметром 65 мм, предназначенные для пропуска железобетонных свай, которые служат «гвоздями» для фиксации конструкций на грунте.
Длина: 2000 мм
Ширина: 100 мм
Высота: 1000 мм
Вес: 120 кг
Марка бетона: М300
Эти конструкции равномерно укладываются на откосах и обеспечивают надежную защиту от сползания грунта, гарантируя долговечное укрепление. При разработке материалов учитывались рекомендации Союздорнии по типам решетчатых конструкций.
При отсутствии специальных маркировок могут возникнуть трудности в поиске необходимых конструкций. Эти обозначения отражают ключевые характеристики изделий, и любые изменения в маркировке могут затруднить подбор строительных материалов.
Процесс производства рам подробно описан в нормативном документе ИНВ 19700м, который содержит требования к материалам, последовательность изготовления и рабочие чертежи. Изделия должны производиться в стальных формах, обеспечивающих соблюдение геометрических пропорций. Основным сырьем является тяжелый бетон с прочностью на сжатие не ниже М300.
Климатические условия региона строительства влияют на выбор бетона по морозостойкости и водонепроницаемости. В форме размещаются арматурные сетки, которые устанавливаются на специальные фиксаторы. Армирование обеспечивает высокую прочность конструкций. Для сеток используется горячекатаная сталь класса AI с диаметром стержней от 6 до 8 мм, качество которой должно соответствовать ГОСТ 5781-61.
На изделии предусмотрены специальные строповочные петли из гладкой стали класса AI с диаметром 6 мм. После установки конструкции петли загибаются или срезаются. Перед хранением изделия проходят тщательную проверку на физико-химические свойства и пригодность к эксплуатации. Некондиционные конструкции отбраковываются и хранятся отдельно.
Складирование и транспортировка рам должны осуществляться с соблюдением всех норм безопасности и в соответствии с рекомендациями ИНВ 19700м и ГОСТ 13015. Важно надежно фиксировать конструкции и использовать деревянные подкладочные материалы, высота которых должна превышать выступающие строповочные петли минимум на два сантиметра.
| Стандарт | ИНВ |
| Номер стандарта | 19700м |
| Статус | не определен |
| Год выпущенного стандарта | 1971 |
| Название стандарта | Проект укрепления откосов земляного полотна сборными решетчатыми конструкциями. |
| Название | Длина, мм | Ширина, мм | Высота, мм | Вес, кг | Номер стандарта | Цена | |
|---|---|---|---|---|---|---|---|
| 2000 | 200 | 1000 | 212 | 19700м |
2 072 руб. |
| Название | Длина, мм | Ширина, мм | Высота, мм | Вес, кг | Номер стандарта | Цена | |
|---|---|---|---|---|---|---|---|
| 2000 | 200 | 1000 | 212 | 19700м |
2 072 руб. |
||
| 1785 | 80 | 140 | 40 | 19700м |
901 руб. |
||
| 1600 | 100 | 100 | 38 | 19700м |
878 руб. |
||
| 1600 | 60 | 100 | 23 | 19700м |
711 руб. |
||
| 1000 | 100 | 142 | 21 | 19700м |
431 руб. |
||
| 3285 | 80 | 140 | 83 | 19700м |
1 592 руб. |
||
| 2160 | 100 | 100 | 55 | 19700м |
1 279 руб. |
||
| 2160 | 60 | 100 | 33 | 19700м |
1 033 руб. |
||
| 1000 | 100 | 180 | 26 | 19700м |
449 руб. |
ТД "Еврастрой" предлагает купить Рамы Рама 2 по выгодной цене. Наша компания осуществляет доставку продукции по всей территории России и странам СНГ.
В каталоге представлено около 170 тыс. позиций.
По наличию и ценам Мы можем проконсультировать Вас по телефону +7 (343) 300-90-87 или можете отправить запрос на почтовый ящик gbi@gbi22.ru.
Оплатить продукцию можно в рассрочку, для обсуждения вопросов оплаты так же можно обратиться к нашим менеджерам.
Продажа ЖБИ изделий производится с заводов в таких городах как:
Наши менеджеры помогут Вам подобрать оптимальное решения для ваших задач, сориентируют по наличию и ценам, расскажут про оптимальные варианты доставки и оплаты. Звоните +7 (343) 300-90-87
