Производство, продажа и
поставка ЖБИ по России и СНГ
Навигация
Код товара:
24 594 руб.
цена с НДС*
Цена за 1м3, руб
20 495 с НДС*

альбом ПС 248

Краткие характеристики
Длина, мм
1800
Ширина, мм
1800
Высота, мм
500
Вес, кг
3000

Все характеристики
Длина, мм
1800
Ширина, мм
1800
Высота, мм
500
Вес, кг
3000
Количество в квадратом метре, шт
0,31
Нормы погрузки на авто
6
Нормы погрузки ЖД
21
Ссылка на стандарт
https://disk.yandex.ru/d/xOOqXaPOAv2RxA
Расход стали, кг
90,55
Расход стали на 1м3 бетона, кг
75,46
Класс прочности
В22,5
Марка бетона
М300
Морозостойкость
F150-F300
Водонепроницаемость
W6-W8
Марка бетона по EN 206-1
C18/22
Геометрический объем
1,620
Объем бетона
1,20

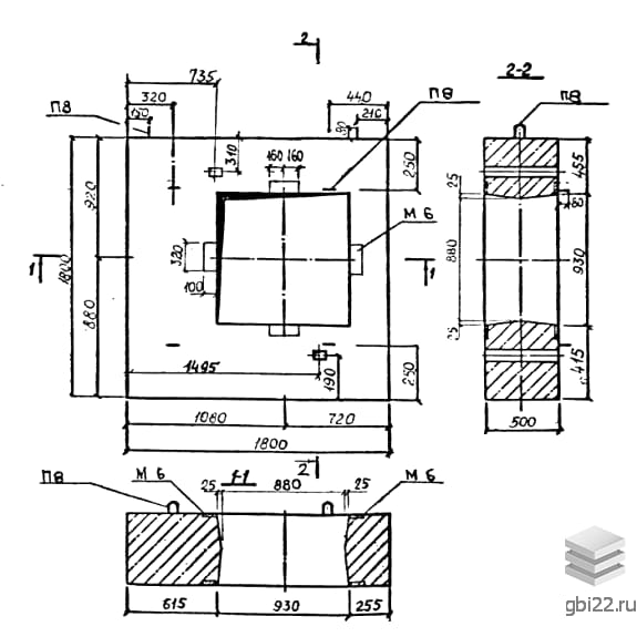
Неподвижные опоры НО 800-50

Конструктивные особенности

Неподвижные опоры НО 800-50 изготавливаются в виде сборных железобетонных панелей, оснащенных металлическими патрубками. Конструкция представляет собой прямоугольные плиты с одним или двумя сквозными отверстиями прямоугольной или восьмигранной формы (в зависимости от типоразмера).

Маркировка изделий

Обозначение НО 800-50 содержит следующую информацию:

  • НО - тип конструкции (неподвижная опора)
  • 800 - номинальный диаметр трубопровода (в мм)
  • 50 - расчетное усилие (в тс)

Дополнительно на изделиях указывают массу, дату изготовления и клеймо ОТК.

Область применения

Конструкции применяют при монтаже теплотрасс для фиксации труб диаметром 100-1400 мм в каналах. Особенно эффективны при использовании с лотковыми элементами. Наличие закладных деталей позволяет выполнять надежное крепление фланцев.

Технические характеристики

  • Габариты: 1800?1800?500 мм
  • Масса: 3000 кг
  • Класс бетона: В22,5 (М300)
  • Защитный слой бетона: 20-30 мм

Производственные стандарты

Изготовление регламентировано Альбомом ПС 248. Основные требования:

  • Применение тяжелого бетона по ГОСТ 25192-82
  • Армирование стальными сетками (АI, АIII по ГОСТ 5781-82)
  • Использование проволоки ВрI (ГОСТ 6727-80)
  • Антикоррозийная обработка металлических элементов

Транспортировка и хранение

Перевозку и складирование выполняют с соблюдением мер безопасности:

  • Использование деревянных прокладок
  • Запрет на сбрасывание или волочение
  • Применение спецтехники с захватными механизмами

Контроль качества

Каждая партия проходит приемочные испытания. Результаты фиксируют в сертификатах. Бракованные изделия подлежат утилизации.

Стандарт
альбом
Номер стандарта
ПС 248
Статус
не определен
Год выпущенного стандарта
1989
Название стандарта
Сборные железобетонные конструкции неподвижных опор для трубопроводов тепловых сетей. Рабочие чертежи опор для трубопроводов Ду 100 - 1400 мм, размещаемых в каналах.
Название Длина, ммШирина, ммВысота, ммВес, кгНомер стандарта Цена
210024005005020ПС 248
37 548 руб.
210024005005020ПС 248
47 483 руб.
180018005003000ПС 248
32 198 руб.
180018005003220ПС 248
25 527 руб.
180018005003220ПС 248
30 606 руб.
300015004003600ПС 248
42 705 руб.
300015004003430ПС 248
41 903 руб.
300015004003600ПС 248
42 705 руб.
300015004003430ПС 248
41 903 руб.
300015004003820ПС 248
45 435 руб.
300015004003700ПС 248
44 868 руб.
300015004003820ПС 248
35 801 руб.
300015004003700ПС 248
35 235 руб.
240015003002280ПС 248
39 406 руб.
240015003002280ПС 248
27 894 руб.
240015003002380ПС 248
31 354 руб.
240015003002380ПС 248
27 524 руб.
240015003002430ПС 248
27 563 руб.
240015003002430ПС 248
22 465 руб.
240015003002480ПС 248
27 066 руб.
240015003002480ПС 248
22 197 руб.
1500900300880ПС 248
12 138 руб.
1500900300880ПС 248
9 821 руб.
1500900300930ПС 248
8 831 руб.
240027005005250ПС 248
45 488 руб.
240027005005250ПС 248
54 900 руб.
210024005004150ПС 248
35 516 руб.
210024005004150ПС 248
43 097 руб.
210024005004750ПС 248
36 315 руб.
210024005004750ПС 248
46 388 руб.
1500900200650ПС 248
6 557 руб.
344070036009600ПС 127
118 256 руб.
344060038209950ПС 127
134 405 руб.
344060038209500ПС 127
131 462 руб.
344060037809000ПС 127
112 729 руб.
344060037808375ПС 127
108 745 руб.
34401200386022050ПС 127
247 434 руб.
344070036009600ПС 127
92 187 руб.
34401200382019900ПС 127
234 626 руб.
34401200386022050ПС 127
209 435 руб.
34401000382015850ПС 127
223 483 руб.
34401200382019900ПС 127
203 009 руб.
3440900378013475ПС 127
178 344 руб.
34401000382015850ПС 127
176 535 руб.
3440900378012575ПС 127
163 963 руб.
3440900378013475ПС 127
158 856 руб.
344070036009600ПС 127
141 903 руб.
3440900378012575ПС 127
133 949 руб.
3440600386011025ПС 127
132 433 руб.
Полный каталог
Название Длина, ммШирина, ммВысота, ммВес, кгНомер стандарта Цена
210024005005020ПС 248
37 548 руб.
210024005005020ПС 248
47 483 руб.
180018005003000ПС 248
32 198 руб.
180018005003220ПС 248
25 527 руб.
180018005003220ПС 248
30 606 руб.
300015004003600ПС 248
42 705 руб.
300015004003430ПС 248
41 903 руб.
300015004003600ПС 248
42 705 руб.
300015004003430ПС 248
41 903 руб.
300015004003820ПС 248
45 435 руб.
300015004003700ПС 248
44 868 руб.
300015004003820ПС 248
35 801 руб.
300015004003700ПС 248
35 235 руб.
240015003002280ПС 248
39 406 руб.
240015003002280ПС 248
27 894 руб.
240015003002380ПС 248
31 354 руб.
240015003002380ПС 248
27 524 руб.
240015003002430ПС 248
27 563 руб.
240015003002430ПС 248
22 465 руб.
240015003002480ПС 248
27 066 руб.
240015003002480ПС 248
22 197 руб.
1500900300880ПС 248
12 138 руб.
1500900300880ПС 248
9 821 руб.
1500900300930ПС 248
8 831 руб.
240027005005250ПС 248
45 488 руб.
240027005005250ПС 248
54 900 руб.
210024005004150ПС 248
35 516 руб.
210024005004150ПС 248
43 097 руб.
210024005004750ПС 248
36 315 руб.
210024005004750ПС 248
46 388 руб.
1500900200650ПС 248
6 557 руб.

ТД "Еврастрой" предлагает купить Опоры неподвижные НО 800-50 по выгодной цене. Наша компания осуществляет доставку продукции по всей территории России и странам СНГ.

В каталоге представлено около 170 тыс. позиций.

По наличию и ценам Мы можем проконсультировать Вас по телефону +7 (343) 300-90-87 или можете отправить запрос на почтовый ящик gbi@gbi22.ru.

Оплатить продукцию можно в рассрочку, для обсуждения вопросов оплаты так же можно обратиться к нашим менеджерам.

Продажа ЖБИ изделий производится с заводов в таких городах как:

  • Екатеринбург
  • Тюмень
  • Красноярск
  • Новосибирск
  • Иркутск
  • Ростов-на-дону
  • Нижний Новгород
  • Казань
  • Москва

Наши менеджеры помогут Вам подобрать оптимальное решения для ваших задач, сориентируют по наличию и ценам, расскажут про оптимальные варианты доставки и оплаты. Звоните +7 (343) 300-90-87

24 594 руб.
цена с НДС*
Наличие: нет
шт.
Перейти в корзину

Оформить заказ
Рассрочка
Рассказать друзьям: